SYSCAD - CAD für den Metallbau Startseite  Zurück  Weiter
SYSCAD 12.09 (octobres 1994)
Aide sur SYSCAD > SYSCAD > La vérification > Version 12.09
LA LISTE DE COUPE

Construction de la coupe de profil -, verre - et poésie ruses d'AutoCAD dessins, que positions avec le programme Schnittgenerierung ou avec TRANSCAD a été produit.

Il peut être aménagé des commandes avec jusqu' à 200 positions, à que des positions seules peuvent se trouver sur les dessins différents. Avec le programme, aussi une optimisation de bâton peut être effectuée pour les profils. Vous trouvez une description de programme dans le chapitre 5. L'appel de programme sur Pulldown-Menü Schnittgenerierung ou Menüauswahl/Programme.

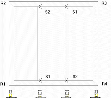
La possibilité d'appliquer des profils asymetrisches dans le Schnittgenerierung. La direction des points administrés décide de la situation du profil. L'exemple: Vous voudriez appliquer un profil avec deux sentiers différents. Le profil est ainsi déposé comme le bloc que le long sentier se trouve à gauche. Dessinez un cadre dans le sens des aiguilles d'une montre, ce montre longtemps le sentier après intérieur. Administrez les points de l'échelon de haut en bas, le profil est représenté ainsi dans l'avis comme il aura déposé comme le bloc, long sentier à gauche. Aux échelons horizontaux d'à gauche après à droite est le long sentier en-dessous.

rev12_09a

Situation du profil comme le bloc

rev12_09b

WHC-EDIT contient un Pulldown-Menü "ATTITUDES" avec lesquelles vous pouvez démarrer d'AutoCAD le programme à Ecke-1 et Ecke-2. En outre une variante peut être optée à E2000 et E5000 pour le vitrage du SYSTHERM®, séries.

rev12_09c

L'appel programme COIN 1

L'appel programme COIN 2

VIEILLES FORMES de VERRE âges formes de verre et vieux coins de verre

NOUVELLES FORMES de VERRE forme de verre ouverte et OUVERTEMENT nouvelle et nouveaux coins de verre

NOUVELLES FORMES DE VERRE GESCHL. Nouvelle forme de verre fermée et nouveaux coins de verre

Aux deux ordres avec les nouvelles formes de verre, les vieilles formes de verre deviennent appliquer pour les séries E2000 et E5000 avec les nouveaux coins de verre.

Des données de profil correspondent aux brochures les plus nouvelles, état 1994,